среда, 6 февраля 2013 г.

сертификат на циклоны цн15

Не рекомендуется применение Циклона ЦН-15 и

Циклон ЦН-15У не предназначены для работы в условиях взрывоопасных сред.

Степень отчистки выше степени отчистки одиночного циклона той же производительности, но его гидравлическое сопротивление так же несколько выше.

строительных материалов и т.д.

Циклон ЦН-15У применяются на предприятиях черной и цветной металлургии, химической, нефтяной, машиностроительной промышленности, энергетики, производства

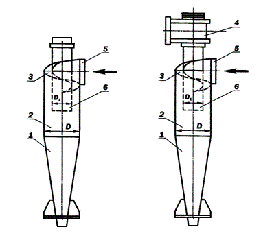
Циклон ЦН-15 устанавливается , а Циклон ЦН-15У с

агломерацией, сжиганием топлива и т.д.,Pа также очистки аспирационного воздуха.

Циклон ЦН-15 и Циклон ЦН-15У предназначены для сухой очистки воздуха и газов, выделяющихся при некоторых технологических процессах, связанных с сушкой, обжигом,

Комментариев нет:

Отправить комментарий